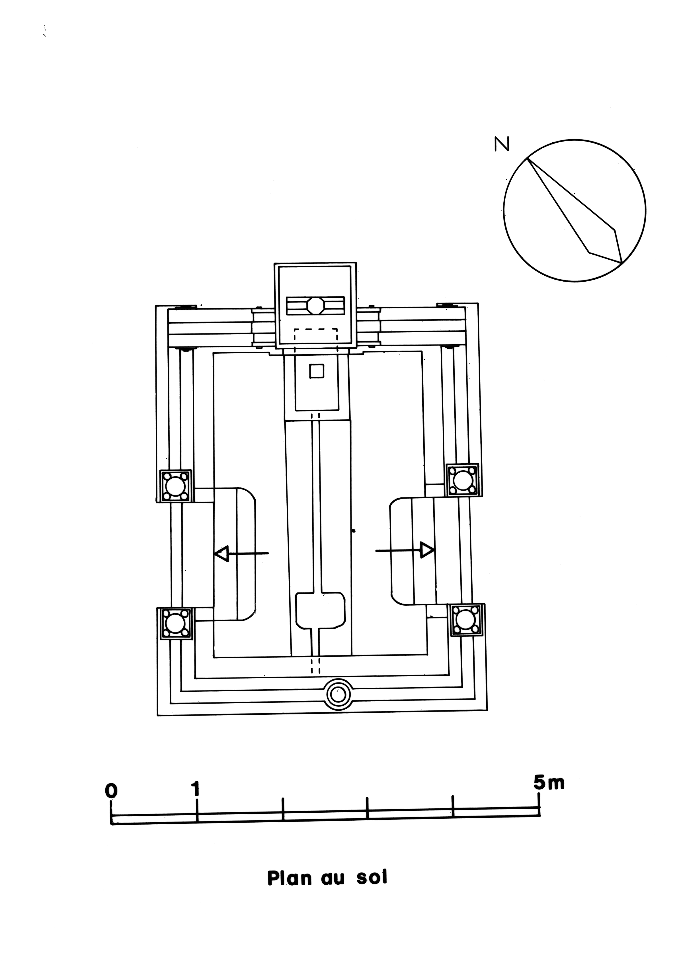
Fontaine de dévotion Sainte-Édiltrude, Santes-Ventroc (Tréflez),
Fontaine de dévotion : plan au sol (état en 1988)Immatriculation
IVR53_19882900227P
Auteur du document reproduit
Auteur de l'illustration
Diffusion
reproduction soumise à autorisation du titulaire des droits d'exploitation
Type
phototype argentique
Besoin d'informations sur cette illustration ?
Nous contacter
dessinateur