FORT DE LANVEOC par Philippe Truttmann.
Situation : sur la pointe de Lanvéoc, à 750 mètres au nord de l'agglomération du même nom.
GENERALITES GEOGRAPHIQUES
En légère saillie par rapport à la côte nord du fond de la rade de Brest, la pointe de Lanvéoc borde à droite, l'anse du Fret, elle-même limitée à gauche et à 3 500 mètres par l'île Longue. Le sommet culmine à 54 mètres.
Elle est séparée de l'île Ronde et de la pointe de l'Armorique par une passe de 3 500 mètres de large, donnant accès à l'extrême fond sud de la rade embouchure de l'Aulne.
L'intérêt de cette position est essentiellement constitué par la possibilité d'interdiction de cette passe, en croisant les feux avec les batteries de l'île Longue d'une part, de l'île Ronde et du fort de l'Armorique d'autre part.
HISTORIQUE SOMMAIRE
Un plan (Article 2 du projet de 1772, Archives du Génie, Vincennes) mentionne un vieux château au sommet topographique de la pointe.
A époque récente, la première organisation militaire du site remonte à 1694, dans le cadre de la mise en état de défense de la rade de Brest par Vauban. D'après les cartes de l'époque, il ne semble s'agir que d'ouvrages temporaires d'importance très secondaires (épaulements ou retranchement d'infanterie en terre). Les choses [en] restent en l'état jusqu'en 1772 où l'on décide d'occuper la position avec des ouvrages permanents (La même décision s'applique aux forts de l'île Longue, Le Corbeau, l'Armorique, Portzic etc... réalisés ou refondus à la même époque). Un premier projet (Génie Vincennes, Brest, carton IV, pièce I-10) relativement restreint, est rejeté, au profit d'un projet plus étendu réalisé de 1774 à 1776.
Construction du fort actuel : 1774-1776
Les travaux exécutés à cette époque comprennent :
- Un fort carré (appelé redoute) à fossé, escarpe et contrescarpe revêtues, implanté sur le sommet topographique de la pointe. La face nord de cette redoute, parallèle à la côte porte une batterie de 8 mortiers tirant sur la passe. La face ouest abrite des casemates à usage de logement et magasins, ainsi que la porte d'entrée de la redoute. La face sud porte un parapet massif en terre et joue le rôle de cavalier tirant par-dessus l'enceinte-enveloppe, vers l'intérieur des terres. La face est porte une simple crête d'infanterie.
- Une enceinte-enveloppe tracée approximativement en demi-cercle, retranchant la position à l'arrière, face à l'intérieur des terres. Elle est constituée de trois fronts bastionnés irréguliers et s'appuie, à droite et à gauche, au sommet des falaises est et ouest de la pointe. Les deux bastions d'extrémité (à l'est : bastion de "Landévennec", à l'ouest : bastion de "Lanvaux" (Orthographe du mot "Lanvéoc" qu[e l'']on rencontre assez souvent dans les documents de 17e et du 18e siècles) n'étant pas couverts à l'arrière par la masse du fort-carré, et assez exposés aux coups de revers venant de la rade sont paradossés, traversés, et ont leur terre-plein établi en gradins (à cause de la pente du terrain). La côte nord de la pointe, bordée de falaises escarpées, jugées infranchissables, reste libre de défenses malgré le projet de Dajot 1775 pour [la campagne de] 1776 proposant de la couronner d'une escarpe, avec bastion, raccordée aux deux extrémités de l'enveloppe qui eût été ainsi continue sur tout le périmètre.
Réorganisation : 1878-1884
Peu ou pas de changements à la fin du 18e siècle (Disposition pour la garde des batteries - 11 février 1778, Archives Municipales de Brest, Fonds Langeron. Lanvau (sic) : 4 canons, 4 mortiers ; 24 soldats de Crozon. Le fort est placé sous le commandement de Monsieur de Clesheur, commandant la défense de la côte de Cornouaille[s]. Il est stipulé (même source) que les "batteries de ... Lanvau" n'étant pas aussi intéressantes que celles du goulet, surtout après la sortie de l'armée navale, elle seront évacuées) et jusqu'après la guerre de 1870. Mais, à partir de 1878, dans le cadre de la refonte générale des ouvrages de défense côtière, menée parallèlement avec la réorganisation des frontières au nord-est (système Séré de Rivières), on procède à la réorganisation du fort de Lanvéoc.
Cette réorganisation répond à deux impératifs :
- Défense côtière : création de batteries de gros calibres remplaçant les vieux matériels de Louis-Philippe, convenablement protégées contre les nouveaux matériels d'artillerie rayée.
- Défense terrestre : transformation de l'enceinte arrière en vue d'en faire un fort de ceinture (ou de rideau), point d'appui de gauche de la nouvelle ligne de défense arrière barrant la presqu'île de Crozon vers la terre et jalonnée par le réduit de Landaoudec et le fort de Crozon.
Les ouvrages contruits à cette période consiste en :
- Défense côtière : une batterie de 4 pièces de 24 cm Marine modèle 1870 orientée au nord nord-ouest, prenant d'enfilade la passe entre l'île Longue et la pointe de l'Armorique, et construite en contre-bas saillant nord de [du : ? ] fort-carré entre celui-ci et le bastion de Landévennec (champ de tir : 220 degrés). Cette batterie couvre également l'anse du Fret.
- Défense mixte : une batterie de 2 canons de 16 cm Marine modèle 1858-1860, dont la capitale est orientée à l'ouest-sud-ouest suivant la côte du fond de l'anse du Fret, avec un champ de tir de 110 degrés se recoupant aux deux tiers avec celui de la batterie de 24 cm, permettant de battre l'anse du Fret et l'intervalle fort de Lanvéoc - réduit de Landaoudec - fort de Crozon et le terrain en avant de ces ouvrages. Cette batterie sera ultérieurement armée de pièces de 90 mm modèle 1877 (batterie ouest).
- Défense terrestre : une batterie de 2 canons de 16 cm Marine modèle 1858-1860 dont la capitale est orientée au sud-est et dont le champ de tir de 90 degrés, se recoupant légèrement à droite avec celui de la batterie ci-dessus, permet de battre la presqu'île de Crozon et particulièrement le carrefour de Tal-ar-Groas.
Comme la batterie précédente, cette batterie recevra des pièces de 90 mm modèle 1877 (de Bange), une fois le matériel 1858-1860 retiré du service. Elle prendra alors la dénomination de batterie de 90 mm sud (batterie située au sud du fort carré, derrière le bastion central de l'enveloppe).
En même temps que l'on construit les 3 batteries ci-dessus, on procède à d'importants remaniements du fort carré dont les faces nord et est sont dotées de casemates logements (datées 1879), de passages couverts assurant des communications protégées entre la cour centrale et les batteries extérieures ; un magasin à poudre enterré type 1874 est construit dans le fossé de la face nord ; le fossé, devenu inutile, est alors comblé sur les faces nord, est et sud (en partie) et le glacis raccordé à la crête supérieure. Seule la face ouest reste découverte et les casemates de 1774 conservées pour le service du temps de paix (elles ne sont plus à l'épreuve des nouveaux projectiles). Il ne surviendra plus d'autre modification par la suite : bombardé en 1944, le fort a subi des dégats. Le site a été utilisé pour l'édification depuis 1957, de bâtiments sans rapport avec la fortification, qui eux ont altéré le caractère.
DESCRIPTION
- Enceinte extérieure
Protection arrière, face à l'intérieur des terres, des batteries côtières, elle remonte pour l'essentiel à 1773 et ne paraît avoir subi que peu de remaniements ultérieurs. En plan, elle est constituée par un couronné irrégulier, dont la capitale est orientée nord-ouest sud-est, face à la terre, s'appuyant, aux deux extrémités, par deux demi-bastions (dit de "Landévennec" et de "Lanvéoc") aux côtes ouest et est de la presqu'île. Le bastion central, ou ce qui en tient lieu, a sa face gauche remplacée par une courtine encadrée de deux demi-bastions (dit du "Fret" et de "Poulmic") tracés de telle sorte que la face du bastion de Poulmic (demi-bastion de droite) est flanquée par le flanc droit du bastion du Fret tandis que celle du bastion du Fret l'est par le flanc droit du bastion de Landévennec (situé à sa gauche) et non pas par le flanc gauche du bastion de Poulmic (son voisin de droite) par rapport auquel elle se trouve en angle mort. Le tout donne ainsi un système à trois demi-bastions et un bastion irrégulier, constituant trois fronts, dont un à flanquement unilatéral. On se retrouve là en présence d'une irrégularité due à une adaptation au cas particulier du terrain.
Au point de vue du nivellement, le front central est implanté sur le plateau du sommet et se trouve sensiblement horizontal, par contre les deux fronts droit et gauche suivent à peu près la pente du terrain ; le terre-plein des faces des deux demi-bastions d'extémités est établi en gradins à ressauts.
L'enceinte ne comporte de fossé (Le projet de 1778 prévoit un fossé continu avec chemin couvert et places d'armes rentrantes) que devant la courtine du front de droite (entre la bastion de Lanvéoc et celui de Poulmic) où se trouve la porte d'entrée. Elle est en outre dépourvu de demi-lunes ; tout ceci démontre qu'on est en présence d'une simple enceinte de sûreté, destinée à résister à un coup de main et non à un siège régulier. L'escarpe est en maçonnerie de moellons de schiste surmontée d'une tablette appareillée inclinée vers l'avant et formant plongée. Chaînes d'angle harpées.
Porte d'entrée : on ne possède, actuellement, aucun détail sur la porte d'origine de l'enceinte. La porte actuelle est datée de 1878 et est en tous points semblable à celle, datée de 1879, construite sur les lignes de l'île Longue [détruites]. C'est un corps de bâtiments dont la façade extérieure, en légère saillie sur le parement de l'escarpe, est entièrement construite en gros appareil de granite gris-beige, soigneusement dressé. Le passage voûté en plein cintre, à claveaux rayonnants, s'ouvre dans une feuillure intéressant les deux tiers de la hauteur de la façade et les trois cinquième de sa largeur. Les parties de façade encadrant ce passage forment ainsi deux montants.
La partie supérieure de l'ouvrage est constituée d'un parapet vertical en attique surmonté d'une tablette légèrement saillante : ce parapet a été entaillé, sous l'occupation, de deux créneaux à ébrasement extérieur gradiné en trémis. Ce parapet est souligné, à la base, d'une corniche moulurée à forte saillie. Au-dessus de la feuillure, un bandeau mouluré souligne la frise plane portant en son centre, à l'aplomb de l'axe du passage, un petit tableau [cartouche] rectangulaire entouré d'un cadre dans lequel est gravée la date de 1878.
La façade intérieure encore plus simple, est percée d'une baie identique à celle de la façade extérieure. Entre les deux, se trouve un vestibule dont la voûte porte la terrasse supérieure, et dans lequel, de part et d'autre du passage central se trouvent les fossés où descendaient les longerons lestés du pont-levis à bascule en dessous, supprimé et remplacé par un tablier fixe en béton.
Le tout, de construction très soignée, est d'une architecture dépouillée et presque dépourvue d'ornements, dans la tradition de la sévérité classique de l'architecture militaire d'après la Révolution.
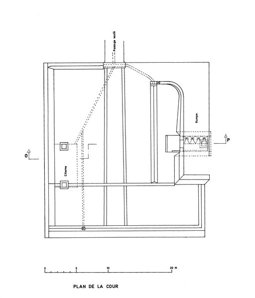
- Le fort carré (ou redoute centrale)
Implanté au sommet de la pointe, derrière le bastion central, cet ouvrage était, à l'origine, constitué par une redoute carrée, à escarpe revêtue, entourée d'un fossé avec un chemin couvert et un glacis assez accusé du côté du nord. La face Nord portait une batterie de six mortiers destinés à tirer sur les navires au mouillage dans la rade intérieure et les faces Sud ; une batterie de canons à parapet épais tirant face au Sud, par dessus le bastion central. La face Ouest était creuse et comportait un casernement casematé à deux niveaux, destiné au logement de la garnison et dont les ouvertures donnaient principalement sur la cour centrale, carrée.
Lors de la réorganisation opérée en 1878, l'ouvrage a été profondément modifié :
- Les parapets et massifs de terre des faces nord, est et sud ont été surépaissis et raccordes, à terre coulante, au terrain naturel environnant, par dessus les fossés qui ont alors été comblés.
- Le rempant de la face nord a été remanié et a reçu des casemates logements ouvrant sur la cour centrale, et adossés à un magasin à poudre enterré.
- La face est a été percée d'un passage couvert assurant la communication avec la batterie de 24 cm.
- Seule la face ouest n'a pas été modifiée et a gardé son aspect d'origine.
Tous ces remaniements ont abouti à donner à cet ouvrage l'aspect qu'il a gardé aujourd'hui.
Face Ouest. Seule face restée dégagée de l'ouvrage d'origine, elle se présente à I'extérieur sous forme d'un mur d'escarpe en moellons de granite, avec fruit, couronné d'une tablette. Au milieu, légèrement désaxée vers le nord se trouve, au niveau du sol, la porte d'entrée de l'ouvrage, massif de maçonnerie en saillie sur l'escarpe et dont le dessus s'amortit en cavet. Dans ce massif s'ouvre le passage, en voûte surbaissée du couloir d'entrée. Au-dessus, dans l'escarpe, un petit tableau rectecgulaire porte la date de 1776.
Au-dessus de l'entrée et à gauche, deux fenêtres rectangulaires à montants harpés et linteaux monolithiques de granite donnent jour aux locaux du premier étége, en lieu et place de quatre créneaux de fusillade existant à l'origine (d'après le grand Atlas du début du 19e siècle). Une bombe d'avion a ouvert une brèche dans l'escarpe et démoli la moitié droite du massif de la porte.
L'escarpe constitue le mur de fond des casemates prenant jour dans la façade intérieure, sur la cour centrale. Il s'agit de quatre casemates rectangulaires, séparées par des piédroits, et voûtées en anse de panier, à l'épreuve de la bombe.
Du sud au nord, la première et la deuxième sont des logements identiques à un seul niveau et disposent d'une cheminée, la troisième à deux niveaux est divisée par des refends et abrite, au rez-de-chaussée, le couloir d'entrée et la cage d'escalier et, au premier étage, trois locaux à usage de magasins servant également à la défense verticale du passage d'entrée.
La quatrième casemate est identique à la première et à la deuxième.
Le couloir d'entrée voûté en anse de panier très aplatie, est rétréci au premier quart de sa longueur jusqu'à la porte proprement dite ; en avant de celle ci la voûte est percée d'un assommoir, et, en arrière, du passage d'une herse, dispositifs servis à partir des locaux de l'étage supérieur. Il n'y a jamais eu de pont à bascule dans le dispositif de défense d'entrée.
L'ensemble des locaux casemates était, à l'origine, protégé par une toiture en bâtière qui a été supprimée par la suite.
Du côté de la cour intérieure, ces locaux sont fermés par une façade verticale en maçonnerie enduite. Chaque casemate ouvrait sur la cour par une porte et une fenêtre, sauf la troisième ouvrant par deux portes (dont celle du couloir d'entrée) surmontée de deux oeils-de-boeuf.
Face nord. Constituée par un ensemble de locaux casematés, construits en 1878-1879, noyés sous le massif de terre protecteur, sauf la façade arrière bordant la cour centrale.
D'ouest en est on trouve :
- Un passage couvert sud-nord, voûté en plein cintre, dont l' extrémité nord a été écrasée par une bombe d'avion. Ce passage couvert dessert le magasin à poudre.
- Trois casemates-logements : identiques et parallèles, orientées perpendiculairement à la façade sur cour, fermées au fond par le mur de la galerie enveloppe et à l'avant par un mur de façade percé, pour chaque casemate, d'une porte centrale encadrée de deux fenêtres. Ces casemates sont voûtées en voûtes surbaissées et sont isolées, à l'ouest par le passage couvert, à nord et à l'est par une galerie enveloppe.
Derrière les deux premières casemates, et séparé de celles-ci par la galerie enveloppe, se trouve le magasin à poudre, à chambre de 12 par 5,50 mètres voûtée en voûte surbaissée et dont l'entrée donne sur le passage couverte Au nord et à l'est la chambre des poudres est isolée par une seconde galerie enveloppe partant de l'extrémité nord du passage couvert et retombant dans la première galerie enveloppe derrière la troisième casemate-logement. Derrière le fond de la chambre des poudres, la galerie enveloppe s'élargit en chambre des lanternes, éclairant la chambre des poudres par l'ouverture habituelle. La chambre des poudres est entièrement enduite au mortier soigneusement dressé.
Tous ces locaux sont conformes aux disposition réglementaires de 1874 et constituent un ensemble compact, fonctionnel et soigneusement construit.
L'entrée du passage couvert, est constituée par une baie en plein cintre bordée d'un encadrement en gros appareil de granite harpe, soigneusement dressé. Par contre les encadrements des portes et des fenêtres des casemates-logements sont à montants rectilignes et linteaux en voûte surbaissée ; le tout en gros appareil soigneusement dressé et légèrement saillant sur la façade. Celle-ci est surmontée d'une tablette horizontale saillante. Au-dessus de la porte de la première casemate, un petit tableau rectangulaire à cadre saillant porte, gravée, la date de 1879.
Face est. À l'intérieur de la cour, le long de cette face se trouvait autrefois un pavillon d'officier, variante du plan-type de Vauban. Ce bâtiment a été supprimé au 19e siècle. La seule particularité de cette face est un passage couvert, construit en 1879, qui traversait le rempart et assurait la communication en direction de la batterie de 24 cm. Le couloir en a été écrasé par les bombes.
Face sud. Ne comporte qu'une rampe d'accès au terre-plein supérieur, soutenue par un mur de maçonnerie. Sous cette rampe, local voûté à usage de citerne à eau.
- Batterie de 24 cm
Implantée en contrebas du fort carré, entre celui-ci et la côté nord-ouest de la Pointe. C'est un ouvrage rectiligne à quatre plateformes de pièce, traverses abris et parapet en terre, le tout bordé à l'arrière par une route de service. Capitale de tir orientée à l'ouest nord-ouest.
CONCLUSION
Ouvrage composite couvrant un siècle environ d'histoire de l'architecture militaire et associant, sur un site dominant assez pittoresque, et des ouvrages de défense côtière et des ouvrages de défense terrestre. Cependant, la rusticité et l'absence de décoration des constructions, les remaniements et, en particulier, l'adjonction des massifs de terre, enfin l'état d'abandon général concourent à en faire un monument d'intérêt assez secondaire n'apportant rien de spécifique.
Chargé d'études d'Inventaire du patrimoine à la Région Bretagne.